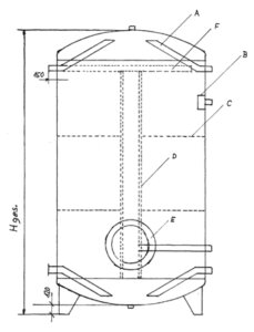
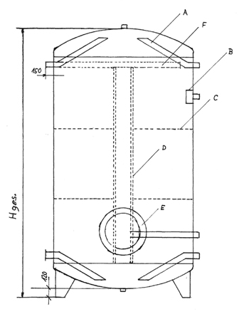
Pufferspeicher Boiler Schichtspeicher1